chris_kah
HCA PA- und E-Technik
- Zuletzt hier
- 12.04.26
- Registriert
- 18.06.07
- Beiträge
- 10.867
- Kekse
- 132.284
- Ort
- Tübingen
Bei meiner letzten Bestellung habe ich einen
the t.bone Lucan System CC 200 PA

mitbestellt.
Es kommt in eine Pappschalchtel
Darin eine Luftpolsterfolie mit dem Adapter und Silca Gel
Und hier der Adapter mit recht stabiler Klammer
Links XLR für Mikrofonanschluss mit 48V Phantompannung, rechts Tiny XLR mit Belegung für Taschensender - Mikrofone.
Ziel: 2 verschiedene Headset Mikrofone mit AKG Belegung versorgen.
Leider ist eines der Headsets gerade defekt und das 2. funktioniert mit diesem Adapter nicht so recht.
Die AKG Belegung des 3-poligen Tiny XLR ist normalerweise:
1 - Masse
2- Signal
3 - BIAS = Stromversorgung.
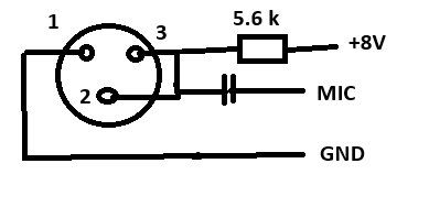
Bei diesem Adapter fand ich folgendes:
1 = Masse
2 und 3 verbunden (0 Ohm), Leerlauf ca. 8V
Durch Belastungsmessung habe ich einen Innenwiderstand von ca 5.6 kOhm ermittelt (4.7 kOhm extern von Pin 2 nach Masse und resultierende Spannung gemessen)
Also ist die interne Belegung (Ersatzschaltbild Eingangsschaltung) vermutlich wie folgt:
Das weicht jedenfalls deutlich von der AKG Normbeschaltung ab. Dieses Schaltbild ist übrigens vom Hersteller nicht erhältlich. Vielleicht hilft das jemand.
Ich habe jetzt die Mikrofone so beschaltet, dass im Stecker Masse nach 1 geht, Signalader nach 2 und ein 4.7 kOhm von Pin 2 nach 3, damit das mit der Originalspeisung funktionieren kann. Hier ist der Widerstand ja durch die Beschaltung im Adapter kurz geschlossen und sollte nicht stören. Der Arbeitswiderstand ist ja dann der interne 5.6 kOhm Widerstand im Phantomadapter.
Mikrofonbeschaltung (Widerstand im Stecker)
Nun ja, das eine Mikrofon funktoniert nicht damit, das andere ist defekt und kann hoffentlich repariert werden (bei dem weiß ich, wie die Kapsel beschaltet ist).
Zwischenfazit:
Leider nicht 100% AKG Kompatibel
Keine technische Dokumentation des Herstellers
the t.bone Lucan System CC 200 PA
mitbestellt.
Es kommt in eine Pappschalchtel
Darin eine Luftpolsterfolie mit dem Adapter und Silca Gel
Und hier der Adapter mit recht stabiler Klammer
Links XLR für Mikrofonanschluss mit 48V Phantompannung, rechts Tiny XLR mit Belegung für Taschensender - Mikrofone.
Ziel: 2 verschiedene Headset Mikrofone mit AKG Belegung versorgen.
Leider ist eines der Headsets gerade defekt und das 2. funktioniert mit diesem Adapter nicht so recht.
Die AKG Belegung des 3-poligen Tiny XLR ist normalerweise:
1 - Masse
2- Signal
3 - BIAS = Stromversorgung.
Bei diesem Adapter fand ich folgendes:
1 = Masse
2 und 3 verbunden (0 Ohm), Leerlauf ca. 8V
Durch Belastungsmessung habe ich einen Innenwiderstand von ca 5.6 kOhm ermittelt (4.7 kOhm extern von Pin 2 nach Masse und resultierende Spannung gemessen)
Also ist die interne Belegung (Ersatzschaltbild Eingangsschaltung) vermutlich wie folgt:
Das weicht jedenfalls deutlich von der AKG Normbeschaltung ab. Dieses Schaltbild ist übrigens vom Hersteller nicht erhältlich. Vielleicht hilft das jemand.
Ich habe jetzt die Mikrofone so beschaltet, dass im Stecker Masse nach 1 geht, Signalader nach 2 und ein 4.7 kOhm von Pin 2 nach 3, damit das mit der Originalspeisung funktionieren kann. Hier ist der Widerstand ja durch die Beschaltung im Adapter kurz geschlossen und sollte nicht stören. Der Arbeitswiderstand ist ja dann der interne 5.6 kOhm Widerstand im Phantomadapter.
Mikrofonbeschaltung (Widerstand im Stecker)
Nun ja, das eine Mikrofon funktoniert nicht damit, das andere ist defekt und kann hoffentlich repariert werden (bei dem weiß ich, wie die Kapsel beschaltet ist).
Zwischenfazit:
Leider nicht 100% AKG Kompatibel
Keine technische Dokumentation des Herstellers
Zuletzt bearbeitet:
