M
MA-M
Registrierter Benutzer
- 19.12.17
- 29.10.16
- 4
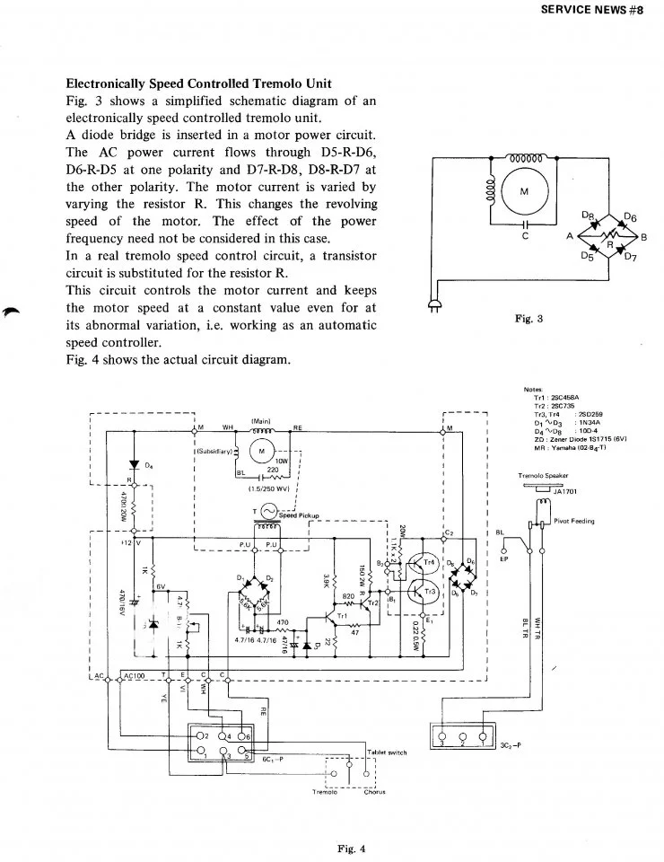
Hallo, habe einen solchen rotierenden Lautsprecher- baue ein spezielles "Leslie-Gesamt-Projekt" auf- dazu gehört auch dieses Teil.
Ich benötige den Anschlussplan für den Rotor---nicht zwingend für den Verstärker---mir gehts um den Speakeranschluss.
Wer kann helfen-wer kennt wen, der wen kennt?
Danke!
Beste Grüße aus Leipzig--Markus
Ich benötige den Anschlussplan für den Rotor---nicht zwingend für den Verstärker---mir gehts um den Speakeranschluss.
Wer kann helfen-wer kennt wen, der wen kennt?
Danke!
Beste Grüße aus Leipzig--Markus

- Eigenschaft
