~Slash~
Registrierter Benutzer
- Zuletzt hier
- 28.02.26
- Registriert
- 06.07.08
- Beiträge
- 2.557
- Kekse
- 25.709
- Ort
- aus'm Pott
Auch die Footswitches sind nicht vom Rest der Platine getrennt, ein echter Clone 
Folge dem Video um zu sehen, wie unsere Website als Web-App auf dem Startbildschirm installiert werden kann.
Anmerkung: This feature may not be available in some browsers.

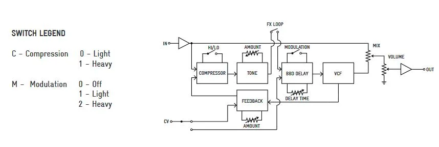
Is das Meet Maude wirklich Analog? Ich hätte jetzt Eimerketten ICs vermutet und die gibt es soweit ich weiß nicht als SMD. Ich hätte jetzt vermutet das oben rechts (U12, neben TP4) irgendein Delay IC evtl. der PT2399SN verbaut ist? Das wäre allerdings ein "Digital IC".Fairfield Circuitry - Meet Maude (Analog Delay)
https://fairfieldcircuitry.com/collections/effect-pedals/products/meet-maude
Meines Wissens ist es ein analoges Eimerketten-Delay. (Kann bei Gelegenheit mal noch genau nachschauen, was das oben rechts fĂĽr ein Chip ist)Is das Meet Maude wirklich Analog?
Nicht Zwangsweise: Der genannte Chip von oben hat ebenfalls "nur" 300ms / 500ms (500 ms mit mehr "Distortion") und besitzt zwei Tiefpassfilter vor dem AD und nach dem DA was ihm auch ein "dunkleres" Timbre beschertFĂĽr Analog spricht auch die maximale Delay-Zeit von 500 ms und der allgemein recht dunkle Klang.
Schau mal am oberen Ende der Platine, da sieht es so aus als würden insgesamt 8 Pins durchkommen, die haben auch den typischen Abstand (bzw. die "Lücke" zwischen den Gruppen von 4 Pins). Habe das im angehängten Bild markiert.Ich sehe jetzt auch keine 8 Pin Beinchen von der Rückseite der Platine hervorstechen. Das würde darauf schließen das die BBD ICs auf der Rückseite sind, sehe ich auf dem Foto aber nicht.
Das wäre dann ein MN3205 / V3205, aber dann fehlt trotzdem noch der Clock IC für die Eimerketten?Schau mal am oberen Ende der Platine, da sieht es so aus als würden insgesamt 8 Pins durchkommen, die haben auch den typischen Abstand (bzw. die "Lücke" zwischen den Gruppen von 4 Pins).
Absolut, vor allem auch klanglich. Demnächst gibt es hier im Board noch ein Review dazu.Aber vielleicht können wir festhalten: Ein sehr interessantes Pedal